| ”õlF | 
                  ‡@ | 
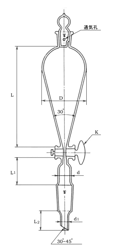
                  —e—Ê‚ÍA“·•”—e—ʂ̖ñ80“‚Æ‚·‚éB | 
                
                
                   | 
                  ‡A | 
                  ‹¤’Ê‚·‚臂킹‚ÍAŒ´‘¥‚Æ‚µ‚Ä•\’†‚Ì‚à‚Ì‚ğg—p‚·‚邪A | 
                
                
                   | 
                   | 
                  ‹ß—‚Ì‹KŠi¡–@‚Ì‚à‚Ì‚ğg—p‚µ‚Ä‚à‚æ‚¢B | 
                
                
                   | 
                  ‡B | 
                  ğ‚Ì“E‚İŒ`ó‹y‚Ñ¡–@‚ÍA‹K’肵‚È‚¢B | 
                
                
                   | 
                  ‡C | 
                  Œû‚É‚ÍA–ñ3‚‚‚Ì’Ê‹CE‚ğ‚ ‚¯‚éB | 
                
                
                   | 
                  ‡D | 
                  ğ‚Í’†‹ó‚Æ‚µA’Ê‹C—p‚Ìa‚ğİ‚¯A | 
                
                
                   | 
                   | 
                  a•ûŒü‚ğ“IŠm‚Éw¦‚·‚é•\¦‚ğ‚µ‚È‚¯‚ê‚΂Ȃç‚È‚¢B | 
                
                
                   | 
                  ‡E | 
                  ƒRƒbƒN‚̑傫‚³‚ÍA•Ê}iˆê•ûƒRƒbƒNj‚̌ĂыL†‚Æ‚·‚éB | 
                
                
                   | 
                  ‡F | 
                  ‹¤’Ê‚·‚臂킹ƒXƒL[ƒuŒ`•ª‰tƒ[ƒg‚̌Ăѕû‚ÍA | 
                
                
                   | 
                   | 
                  –¼Ì‹y‚ьĂїe—Ê‹y‚Ñ‹¤’Ê‚·‚臂킹‹L†‚É‚æ‚éB | 
                
                
                   | 
                   | 
                  —áG@‹¤’Ê‚·‚臂킹ƒXƒL[ƒuŒ`•ª‰tƒ[ƒg@100‚‚Œ@ğ@19/38
                  (A) |