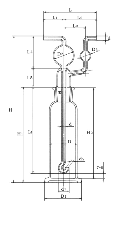
‹¤’Ê‚·‚臂킹ƒKƒXôò•r
’PˆÊ@‚‚
ŒÄ‚Ñ—e—Êi‚‚Œj 250 500
‘S’·@i‚gj@ 310}3 360}3
‚·‚臂킹iğ@j ğ@34/28 ğ@45/40
•r ‚‚³i‚g1j 205}3 240}3
[‚³i‚g2j 190}3 220}3
“·Œai‚cj 55}2 70}3
‘äŒai‚c1j 78}2 100}3
“±“üŠÇ’·‚³i‚k1j 182}2 212}2
ğ ‚‚³i‚k4j 75}2 90}2
‚‚³i‚k5j 30}2 30}2
}’·‚³i‚kj 115}3 130}3
}’·‚³i‚k1j 45}2 50}2
}’·‚³i‚k2j 70}2 80}2
}ŠÔi‚k3j 35}2 40}2
ŠOŒai‚„j 8}0.5 9}0.5
ƒmƒYƒ‹•”i‚„1j 20}2 25}2
ƒmƒYƒ‹•”i‚„2j 3}1 3.5}1
‹Ê ‘å@i‚c2j 42}2 50}2
¬@i‚c3j 18}2 24}2
”õlF ‡@ —e—Ê‚ÍA‹¤’Ê‚·‚臂킹‰º’[•”‚܂ł̖ñ80“‚Æ‚·‚éB
‡A Œû‚Ì‹¤’Ê‚·‚臂킹‚ÍA‹C–§‚łȂ¯‚ê‚΂Ȃç‚È‚¢B
‡B ‹¤’Ê‚·‚臂킹‚Ì’·‚³‚ÍA‹ß—‚Ì¡–@‚Å‚à‚æ‚¢B
‡C —e—Ê•\¦Eƒƒ‚—pƒXƒy[ƒXE‹¤’Ê‚·‚臂킹‹L†‚ÍA»–Ú–”‚ÍÄ•t‚ğ{‚·B
‡D ‹¤’Ê‚·‚臂킹ƒKƒXôò•r‚̌Ăѕû‚ÍA–¼Ì‹y‚ьĂїe—ʂɂæ‚éB
—áG@‹¤’Ê‚·‚臂킹ƒKƒXôò•r@250‚‚Œ