共通すり合わせ直管形連結管
単位mm
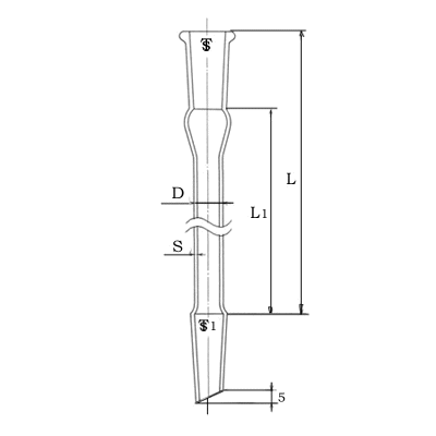
すり合わせ記号(@) @19/38
長さ  (L) 188±2
長さ  (L1) 150±2
外径  (D) 15±0.5
厚さ  (S) 2.0±0.2
備考: @ 共通すり合わせ記号は、原則として表中のものを使用するが、
近似の規格寸法のものを用いてもよい。
A 共通すり合わせ記号@は、砂目又は焼付けを施す。
B 共通すり合わせ直管形連結管の呼び方は、
名称及び共通すり合わせ記号による。
例; 共通すり合わせ直形連結管 @19/38×@19/38